|
jeneng produk |
Stainless Steel Marine Fishing Rod Holder Kanthi Cup Holder |
|
Spesifikasi kasedhiya |
Ukuran liyane |
|
Standar sing tindakake kanggo |
ISO 9001, CE, TUV, CCS, SGS. |
|
Sampel kasedhiya |
ya wis. |
|
Metode Packing |
Tas gelembung + karton kayu |
|
Wektu produksi |
10-15 dina kanggo wadhah 20ft, 20-25 dina kanggo wadhah 40ft. |
|
wektu babar pisan |
Dhukungan bali lan ijol-ijolan |
|
Istilah pembayaran |
Visa, kertu kredit, PayPal, transfer TT |
|
FOB loading port |
Qingdao China |
|
kahanan |
100% Brand New |
|
Jinis barang |
Pancing pancing |
|
warna |
Sliwer |
|
Bahan |
Baja tahan karat |

|
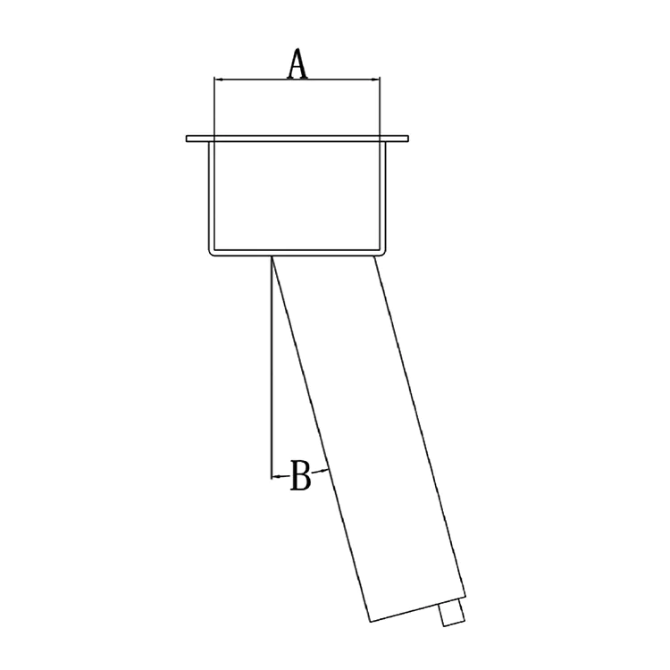
Kode |
A mm |
B mm |
|
AM6570S15 |
79 |
15° |
|
AM6570S30 |
79 |
30° |
|
AM6570S90 |
79 |
90° |
WhatsApp / wechat: +86-15865772126
Email:andy@hardwaremarine.com
Mob: +86-15865772126
Yen sampeyan duwe pitakonan bisa hubungi kita
316 Stainless Steel Marine 45 Deck Pengisi Bahan Bakar
316 Stainless Steel Marine 45 Derajat Pangisi Dek Kanthi Kunci
316 pangisi baja tahan karat stainless steel
316 Pengisi Dek Kapal Stainless Steel
Stainless Steel Marine Slide Gunung Fishing Rod Holder
Stainless Steel Marine Clamp-On Rod Holder Kanthi Sisipan Karet